首页 > 政务公开 > 金安区政府办依申请公开
  • 词:

    起始日期:

    结束日期:

  • 发布日期
  • 序 号
  • 信息名称

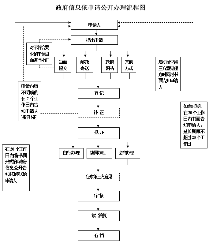
对于公开权利人的申请,能够当场答复或者提供政府信息的,当场予以答复或者提供政府信息;不能当场答复或者提供政府信息的,自收到申请之日起20个工作日内根据下列不同情况进行处理:

(一)所申请公开信息已经主动公开的,告知申请人获取该政府信息的方式、途径;

(二)所申请公开信息可以公开的,向申请人提供该政府信息,或者告知申请人获取该政府信息的方式、途径和时间;

(三)属于不予公开范围的,告知申请人不予公开并说明理由;

(四)经检索没有所申请公开信息的,告知申请人该政府信息不存在;

(五)所申请公开信息不属于本行政机关负责公开的,告知申请人并说明理由;能够确定负责公开该政府信息的行政机关的,告知申请人该行政机关的名称、联系方式;

(六)已就申请人提出的政府信息公开申请作出答复、申请人重复申请公开相同政府信息的,告知申请人不予重复处理;

(七)所申请公开信息属于工商、不动产登记资料等信息,有关法律、行政法规对信息的获取有特别规定的,告知申请人依照有关法律、行政法规的规定办理。

(八)公开义务人应当建立政府信息公开审核制度,在向公开权利人提供政府信息前,应当依照《中华人民共和国保守国家秘密法》以及其他法律、法规和国家有关规定对拟公开的政府信息进行保密审查。对依申请公开的政府信息不能确定是否可以公开时,应当依照法律、法规和国家有关规定及时报有关主管部门或者保密工作部门确定。

(九)因正当理由不能在规定的期限内作出答复或者提供政府信息的,经单位负责人同意,可以将答复或者提供政府信息的期限适当延长并书面告知申请人,延长期限不得超过20个工作日。 公开义务人征求第三方意见所需时间不计算在本条第一款规定的期限内。

1

依申请公开申请表

(注:公民、法人选择其一填写即可;*为必填项)
申请人信息
公民
  • *

  • 工作单位

  • *证件名称

  • *证件号码

  • *身份证等
    有效身份
    证件扫描
    件或照片

    请上传证件正面文件 (只允许上传:JPG、JPEG图片格式)
    请上传证件背面文件 (只允许上传:JPG、JPEG图片格式)
  • *邮政编码

  • *联系电话

  • *通信地址

  • *电子信箱

法人
/
其他组织
  • *

  • *统一社会
    信用代码

  • *证件扫描
    件或照片

    注:上传法人统一社会信用代码证等有效证件扫描件或照片 (只允许上传:JPG、JPEG图片格式)
  • *法定代表人

  • *联系人姓名

  • *联系电话

  • *邮政编码

  • *通信地址

  • *电子信箱

*受理机关名称

申请公开的政府信息
*申请公开的政府信息的内容描述

文件名称

文号

便于受理机关检索查询的其他特征描述:

*政府信息的载体形式(限选一项)
*获取政府信息的方式(限选一项)

*是否公开信息

*申请时间

*验证码

备注:公民、法人或其他组织申请时,必须提交有效身份证明(如身份证复印件、统一社会信用代码证复印件等),否则不予受理。

查询信息
  • 申请人/单位名称

  • 申请单编号

申请人已选择不公开该件申请。

开始日期:

结束日期: